|
Есть вопросы? Наши квалифицированные специалисты готовы проконсультировать вас. Пишите свои вопросы или отправляйте заявку на нашу почту: gt@gigaterm.ru |
Задать вопрос
|
Доставка - по тарифу ТК
Технические характеристики
|
Наименование основных технических характеристик |
Норма для счетчиков с DN |
|
|
|
|
||||
|
40 |
50 |
65 |
80 |
100 |
125 |
150 |
200 |
250 |
|
|
Расход воды, м3/ч, для счетчиков: |
+ 5.............. + 50 |
||||||||
|
- наименьший Qmin Класс В |
0,45 |
0,45 |
0,45 |
0,5 |
0,6 |
1,5 |
1,8 |
4,0 |
10,0 |
|
- переходный Qt Класс В |
0,9 |
0,9 |
1,0 |
0,8 |
1,8 |
2,0 |
4,0 |
6,0 |
16,0 |
|
- номинальный Qn Класс В |
30 |
50 |
60 |
120 |
230 |
250 |
400 |
750 |
1100 |
|
- наибольший Qmax Класс В |
60 |
90 |
120 |
200 |
300 |
350 |
600 |
1000 |
1600 |
|
- порог чувствительности, м3/ч, не более |
0,15 |
0,15 |
0,2 |
0,25 |
0,25 |
0,5 |
1,0 |
1,5 |
3,0 |
|
Горячей воды ВСТН, ВСГН, в диапазоне t 0C |
+ 5.............. + 150 |
||||||||
|
- наименьший Qmin Класс В |
0,7 |
0,7 |
1,0 |
1,6 |
2,4 |
4,0 |
6,0 |
10,0 |
20,0 |
|
- переходный Qt Класс В |
1,5 |
1,6 |
2,0 |
3,2 |
4,8 |
8,0 |
12 |
20 |
40 |
|
- номинальный Qn Класс В |
15 |
15 |
25 |
45 |
70 |
100 |
150 |
250 |
500 |
|
- наибольший Qmax Класс В |
30 |
30 |
60 |
90 |
140 |
200 |
300 |
500 |
1000 |
|
- порог чувствительности, м3/ч, не более |
0,25 |
0,25 |
0,3 |
0,35 |
0,6 |
1,1 |
2,0 |
4,0 |
8,0 |
|
Расход воды при потере давления |
26 |
38 |
40 |
100 |
128 |
170 |
310 |
550 |
800 |
|
Цена одного импульса, л/имп для ВСТН, |
100 |
1000 |
|||||||
|
Наибольшее значение роликового указателя |
999999 |
999999х10 |
|||||||
|
Присоединение к трубопроводу |
фланцевое |
||||||||
|
Масса, кг, не более |
7,9 |
9,9 |
10,6 |
13,3 |
15,6 |
18,1 |
40,1 |
51,1 |
75,1 |
|
Межповерочный интервал |
для горячей воды 4 года, для холодной 6 лет |
||||||||
Примечания
- Под наименьшим расходом Qmin B понимается расход, на котором счетчик имеет относительную погрешность + 5% и ниже которого относительная погрешность не нормируется.
- Под переходным расходом Qt понимается расход, на котором счетчик имеет относительную погрешность + 2%, а ниже которого + 5%.
- Под номинальным расходом Qnom понимается расход, равный 1/2 Qmax, при котором счетчик может работать непрерывно в течение длительного времени.
- Под наибольшим расходом Qmax понимается расход, при котором счетчик может работать не более 1-го часа в сутки.
- Под порогом чувствительности понимается расход, при котором турбинка приходит в непрерывное вращение.
- При определении относительной погрешности снятие показаний счетчика ведется с учетом стрелочного указателя с наименьшей ценой деления.
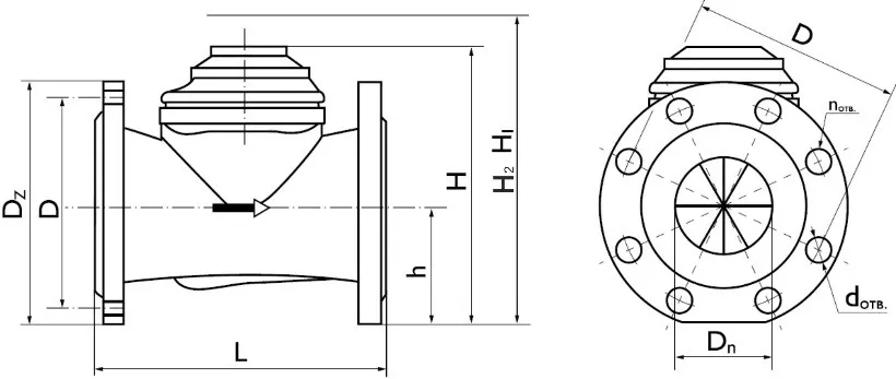
ГАБАРИТНЫЕ РАЗМЕРЫ

|
Габаритные размеры, мм, не более |
|||||||||
|
DN |
Dz |
D |
L |
h |
H* |
H1* |
H2* |
n отв |
d отв |
|
40 |
150 |
110 |
200 |
65 |
177 |
277 |
186 |
4 |
18 |
|
50 |
165 |
125 |
200 |
72 |
187 |
287 |
193 |
4 |
18 |
|
65 |
185 |
145 |
200 |
83 |
197 |
297 |
205 |
4 |
18 |
|
80 |
200 |
160 |
225 |
95 |
219 |
339 |
224 |
8 |
18 |
|
100 |
220 |
180 |
250 |
105 |
229 |
349 |
234 |
8 |
18 |
|
125 |
250 |
210 |
250 |
120 |
257 |
477 |
250 |
8 |
18 |
|
150 |
285 |
245 |
300 |
135 |
357 |
582 |
354 |
8 |
22 |
|
200 |
340 |
300 |
350 |
160 |
382 |
607 |
380 |
12 |
22 |
|
250 |
400 |
360 |
450 |
193 |
427 |
652 |
427 |
12 |
26 |
* Н - ВСГН, ВСХН / Н1 - ВСГНд, ВСХНд, ВСТН / H2 - ВСХН, ВСХНд IP68
ТЕХНИЧЕСКИЕ ХАРАКТЕРИСТИКИ МАГНИТНОУПРАВЛЯЕМОГО КОНТАКТА
- максимальное коммутирующее напряжение, В -50;
- максимальный коммутирующий ток через контакт, мА -100;
- частота замыкания контакта, Гц, не более - 1.
Купить счетчик холодной воды ВСХНд 65 класса "В" от компании Тепловодомер
Турбинные счетчики применяются для коммерческого учета расхода горячей и холодной воды в жилых многоквартирных домах и промышленных зданиях с относительно высоким водопотреблением: от 15 до 500 м3 в сутки.
Для эффективной работы счетчика с такими объемами воды крыльчатка в проточной части приборов этого типа заменена вращающейся на горизонтальной оси «турбинкой», расположенной вертикально к водяному потоку. Такая конструкция обеспечивает заявленные технические и метрологические характеристики турбинного расходомера.
Счетчики турбинные сухоходные с диаметрами условного прохода 40, 50, 65, 80, 100, 125, 150, 200, 250 мм изготовлены по ТУ 4213-201-18151455-2002 и измерения объем сетевой воды по СНиП 2.04.07-86 и питьевой воды по ГОСТ 51232-98, протекающей в обратных или подающих трубопроводах закрытых и открытых систем теплоснабжения, системах холодного водоснабжения от +5 до +50 °С и горячего водоснабжения от +5 до +150 °С при давлении до 1.6 МПа (16 кгс/см2).
Варианты исполнения счетчиков
ВСХН, ВСГН - счетчики для учета холодной и горячей воды с возможностью установки радионакладки AT-WMBUS-08;
ВСХНд - счетчики воды с импульсным выходом(геркон), с возможностью дистанционной передачи информации;
ВСТН - счетчик горячей воды с импульсным выходом(геркон), с возможностью дистанционной передачи информации, входит в cостав теплосчетчика СТ-10.
Особенности счетчиков воды
Все турбинные счетчики воды, производста АО "Тепловодомер", прошли ускоренные испытания на износостойкость по ГОСТ Р 50193.3-93 (800 часов на номинальном расходе при непрерывном потоке и 200 часов на максимальном расходе при непрерывном потоке). Турбинные счетчики горячей воды прошли горячеводные испытания во всем диапазоне рабочих температур (до 150 °С).
Простоте конструкции и счетного механизма счетчик воды турбинный – наиболее экономически выгодное решение для организации коммерческого учета, так как цена тахометрического турбинного счетчика намного ниже приборов других типов соответствующих диаметров и этого же назначения.
Для счетчиков холодной воды возможно исполнение в степени защиты IP68.
Способ установки
Турбинные счетчики воды типа ВСХН, ВСХНд, ВСГН, ВСТН монтируются в любом пространственном положении, с соблюдением условий:
Счетчик всегда должен быть заполнен водой
Прямые участки должны составлять 3DN до счетчика и 1DN после
Главные преимущества
- Не подвержены влиянию внешнего магнитного поля;
- Для счетчиков холодной воды возможно исполнение в степени защиты IP68;
- Низкий порог чувствительности;
- Возможность монтажа во всех пространственных положениях за счет оригинальной конструкции измерительного механизма;
- Возможность монтажа в ограниченном пространстве за счет сокращения перед счетчиком прямого участка до 3 Ду;
- Герметичности счетного механизма, устойчивость к запотеванию;
- Для счетчиков ВСХН/ВСГН возможность установки радионакладки, для системы диспетчеризации;
- Защита от внешнего механического проникновения;
- Все приборы проходят опрессовку давлением 2,4 МПа;
- Детали счетчиков, соприкасающихся с водой, изготовлены из материалов, не снижающих качества воды и стойких к её воздействию;
- Повышение надежности за счет усовершенствования конструкции турбинки, позволяющей уменьшить нагрузку на ее ось;
- Повышение точности измерения объема при малых расходах воды за счет расширения диапазона расходов для счетчиков холодной воды - 1:300; для счетчиков горячей воды -1:60;
- Уменьшение гидравлического сопротивления и увеличение номинального расхода по сравнению с крыльчатыми счетчиками (для Ду 40 мм);
- Снижение материалоемкости и стоимости приборов за счет применения современных материалов и новых конструкторских решений;
- Метрологическое сопровождение через сервисные центры во всех регионах России и Казахстане;
- Унифицированные монтажные размеры.
Технические характеристики
|
Наименование основных технических характеристик |
Норма для счетчиков с DN |
|
|
|
|
||||
|
40 |
50 |
65 |
80 |
100 |
125 |
150 |
200 |
250 |
|
|
Расход воды, м3/ч, для счетчиков: |
+ 5.............. + 50 |
||||||||
|
- наименьший Qmin Класс В |
0,45 |
0,45 |
0,45 |
0,5 |
0,6 |
1,5 |
1,8 |
4,0 |
10,0 |
|
- переходный Qt Класс В |
0,9 |
0,9 |
1,0 |
0,8 |
1,8 |
2,0 |
4,0 |
6,0 |
16,0 |
|
- номинальный Qn Класс В |
30 |
50 |
60 |
120 |
230 |
250 |
400 |
750 |
1100 |
|
- наибольший Qmax Класс В |
60 |
90 |
120 |
200 |
300 |
350 |
600 |
1000 |
1600 |
|
- порог чувствительности, м3/ч, не более |
0,15 |
0,15 |
0,2 |
0,25 |
0,25 |
0,5 |
1,0 |
1,5 |
3,0 |
|
Горячей воды ВСТН, ВСГН, в диапазоне t 0C |
+ 5.............. + 150 |
||||||||
|
- наименьший Qmin Класс В |
0,7 |
0,7 |
1,0 |
1,6 |
2,4 |
4,0 |
6,0 |
10,0 |
20,0 |
|
- переходный Qt Класс В |
1,5 |
1,6 |
2,0 |
3,2 |
4,8 |
8,0 |
12 |
20 |
40 |
|
- номинальный Qn Класс В |
15 |
15 |
25 |
45 |
70 |
100 |
150 |
250 |
500 |
|
- наибольший Qmax Класс В |
30 |
30 |
60 |
90 |
140 |
200 |
300 |
500 |
1000 |
|
- порог чувствительности, м3/ч, не более |
0,25 |
0,25 |
0,3 |
0,35 |
0,6 |
1,1 |
2,0 |
4,0 |
8,0 |
|
Расход воды при потере давления |
26 |
38 |
40 |
100 |
128 |
170 |
310 |
550 |
800 |
|
Цена одного импульса, л/имп для ВСТН, |
100 |
1000 |
|||||||
|
Наибольшее значение роликового указателя |
999999 |
999999х10 |
|||||||
|
Присоединение к трубопроводу |
фланцевое |
||||||||
|
Масса, кг, не более |
7,9 |
9,9 |
10,6 |
13,3 |
15,6 |
18,1 |
40,1 |
51,1 |
75,1 |
|
Межповерочный интервал |
для горячей воды 4 года, для холодной 6 лет |
||||||||
Примечания
- Под наименьшим расходом Qmin B понимается расход, на котором счетчик имеет относительную погрешность + 5% и ниже которого относительная погрешность не нормируется.
- Под переходным расходом Qt понимается расход, на котором счетчик имеет относительную погрешность + 2%, а ниже которого + 5%.
- Под номинальным расходом Qnom понимается расход, равный 1/2 Qmax, при котором счетчик может работать непрерывно в течение длительного времени.
- Под наибольшим расходом Qmax понимается расход, при котором счетчик может работать не более 1-го часа в сутки.
- Под порогом чувствительности понимается расход, при котором турбинка приходит в непрерывное вращение.
- При определении относительной погрешности снятие показаний счетчика ведется с учетом стрелочного указателя с наименьшей ценой деления.
ГАБАРИТНЫЕ РАЗМЕРЫ

|
Габаритные размеры, мм, не более |
|||||||||
|
DN |
Dz |
D |
L |
h |
H* |
H1* |
H2* |
n отв |
d отв |
|
40 |
150 |
110 |
200 |
65 |
177 |
277 |
186 |
4 |
18 |
|
50 |
165 |
125 |
200 |
72 |
187 |
287 |
193 |
4 |
18 |
|
65 |
185 |
145 |
200 |
83 |
197 |
297 |
205 |
4 |
18 |
|
80 |
200 |
160 |
225 |
95 |
219 |
339 |
224 |
8 |
18 |
|
100 |
220 |
180 |
250 |
105 |
229 |
349 |
234 |
8 |
18 |
|
125 |
250 |
210 |
250 |
120 |
257 |
477 |
250 |
8 |
18 |
|
150 |
285 |
245 |
300 |
135 |
357 |
582 |
354 |
8 |
22 |
|
200 |
340 |
300 |
350 |
160 |
382 |
607 |
380 |
12 |
22 |
|
250 |
400 |
360 |
450 |
193 |
427 |
652 |
427 |
12 |
26 |
* Н - ВСГН, ВСХН / Н1 - ВСГНд, ВСХНд, ВСТН / H2 - ВСХН, ВСХНд IP68
ТЕХНИЧЕСКИЕ ХАРАКТЕРИСТИКИ МАГНИТНОУПРАВЛЯЕМОГО КОНТАКТА
- максимальное коммутирующее напряжение, В -50;
- максимальный коммутирующий ток через контакт, мА -100;
- частота замыкания контакта, Гц, не более - 1.

